syntax Japan

  • 製品情報
    • RME
    • ALVA
    • RMEについて
    • USBオーディオインターフェイス
    • PCI Expressオーディオインターフェイス
    • 電源フィルター
    • マイクプリアンプ
    • AD/DA/DDフォーマットコンバーター
    • アクセサリー
    • アプリケーション
    • ADI-2/4 Pro SE
    • ADI-2 DAC FS
    • ADI-2 Pro FS R Black Edition
    • Babyface Pro FS
    • Digiface AES
    • Digiface AVB
    • Digiface Dante
    • Digiface USB
    • Fireface 802 FS
    • Fireface 802 FS AE
    • Fireface UCX II
    • Fireface UFX II
    • Fireface UFX III
    • MADIface USB
    • MADIface XT II
    • HDSPe AES
    • HDSPe AIO Pro
    • HDSPe AoX-M
    • HDSPe MADI
    • HDSPe MADI FX
    • HDSPe RayDAT
    • LNI-2 DC
    • 12Mic
    • 12Mic-D
    • OctaMic II
    • ADI-2/4 Pro SE
    • ADI-2 DAC FS
    • ADI-2 FS
    • ADI-2 Pro FS R Black Edition
    • M-1620 Pro
    • M-32 / M-16 DA
    • M-32 AD Pro II / M-32 DA Pro II
    • 9632WCM
    • AI4S-192 AIO / AO4S-192 AIO
    • ARC USB (Advanced Remote Control USB)
    • BF-BOXLRMKH
    • BF2BOX
    • BF2MIDIBOC
    • BF2USB
    • BF2USB-C
    • BO9632
    • BO9632XLRMKH
    • BO968
    • BOAESMIDI
    • BOC968
    • BOHDSP9652MIDI
    • HDSPe OPTO-X
    • MADI SFP Module
    • MRC(Multi-Remote-Control)
    • NT-RME-11-JP
    • NT-RME-12-JP
    • NT-RME-13-JP
    • PC-0262-JP
    • RM19II
    • RME USB cable 3.0
    • UNIRACK 19
    • USB cable 3.0 type C-B
    • ADI-2 Remote
    • AVB Controller
    • DIGICheck
    • DigiCheck NG
    • MIDI Remote
    • WAV File Batch Processor
    • RME Connector
    • TotalMix FX
    • TotalMix Remote
    • ALVAについて
    • アナログ・ケーブル
    • AES/EBUデジタル・ケーブル
    • MADIオプティカル・ケーブル
    • オプティカルTOSLINKケーブル
    • AI25-8TPro
    • AI25-8XPro
    • ANA25T-25TPro
    • AO25-8XPro
    • T8T8Pro
    • X8T8Pro
    • X8X8Pro
    • AES25-4F4MPro
    • AES25T-25TPro
    • AES25T-25YPro05
    • AES25Y-25TPro05
    • MCD-100 – MCD-300
    • MADI3D – MADI50D
    • MADI0.5S – MADI1S
    • OK0100PRO – OK0300Pro
  • ダウンロード
  • サポート
    • FAQ
    • 製品登録
    • ご購入前相談窓口
    • 修理 / 有償アップデート
    • テクニカルサポート
    • サポート規約
    • 法人窓口
    • 非該当証明書発行
    • RME User Forum
  • ナレッジベース
    • 技術情報
    • 設定ガイド
  • ユーザーストーリー
search-icon
  • 製品情報
    製品情報
    • RME
      RME
      • USBオーディオインターフェイス
        USBオーディオインターフェイス
        • ADI-2/4 Pro SE
        • ADI-2 DAC FS
        • ADI-2 Pro FS R Black Edition
        • Babyface Pro FS
        • Digiface AES
        • Digiface AVB
        • Digiface Dante
        • Digiface USB
        • Fireface 802 FS
        • Fireface 802 FS AE
        • Fireface UCX II
        • Fireface UFX II
        • Fireface UFX III
        • MADIface USB
        • MADIface XT II
      • PCI Expressオーディオインターフェイス
        PCI Expressオーディオインターフェイス
        • HDSPe AES
        • HDSPe AIO Pro
        • HDSPe AoX-M
        • HDSPe MADI
        • HDSPe MADI FX
        • HDSPe RayDAT
      • 電源フィルター
        電源フィルター
        • LNI-2 DC
      • マイクプリアンプ
        マイクプリアンプ
        • 12Mic
        • 12Mic-D
        • OctaMic II
      • AD/DA/DDフォーマットコンバーター
        AD/DA/DDフォーマットコンバーター
        • ADI-2/4 Pro SE
        • ADI-2 DAC FS
        • ADI-2 FS
        • ADI-2 Pro FS R Black Edition
        • M-1620 Pro
        • M-32 / M-16 DA
        • M-32 AD Pro II / M-32 DA Pro II
      • アクセサリー
        アクセサリー
        • 9632WCM
        • AI4S-192 AIO / AO4S-192 AIO
        • ARC USB (Advanced Remote Control USB)
        • BF-BOXLRMKH
        • BF2BOX
        • BF2MIDIBOC
        • BF2USB
        • BF2USB-C
        • BO9632
        • BO9632XLRMKH
        • BO968
        • BOAESMIDI
        • BOC968
        • BOHDSP9652MIDI
        • HDSPe OPTO-X
        • MADI SFP Module
        • MRC(Multi-Remote-Control)
        • NT-RME-11-JP
        • NT-RME-12-JP
        • NT-RME-13-JP
        • PC-0262-JP
        • RM19II
        • RME USB cable 3.0
        • UNIRACK 19
        • USB cable 3.0 type C-B
      • アプリケーション
        アプリケーション
        • ADI-2 Remote
        • AVB Controller
        • DIGICheck
        • DigiCheck NG
        • MIDI Remote
        • WAV File Batch Processor
        • RME Connector
        • TotalMix FX
        • TotalMix Remote
    • ALVA
      ALVA
      • アナログ・ケーブル
        アナログ・ケーブル
        • AI25-8TPro
        • AI25-8XPro
        • ANA25T-25TPro
        • AO25-8XPro
        • T8T8Pro
        • X8T8Pro
        • X8X8Pro
      • AES/EBUデジタル・ケーブル
        AES/EBUデジタル・ケーブル
        • AES25-4F4MPro
        • AES25T-25TPro
        • AES25T-25YPro05
        • AES25Y-25TPro05
      • MADIオプティカル・ケーブル
        MADIオプティカル・ケーブル
        • MCD-100 – MCD-300
        • MADI3D – MADI50D
        • MADI0.5S – MADI1S
      • オプティカルTOSLINKケーブル
        オプティカルTOSLINKケーブル
        • OK0100PRO – OK0300Pro
  • ダウンロード
  • サポート
    サポート
    • FAQ
    • 製品登録
    • ご購入前相談窓口
    • 修理 / 有償アップデート
    • テクニカルサポート
    • サポート規約
    • 法人窓口
    • 非該当証明書発行
    • RME User Forum
  • ナレッジベース
    ナレッジベース
    • 技術情報
    • 設定ガイド
  • ユーザーストーリー
  • 検索 search-icon
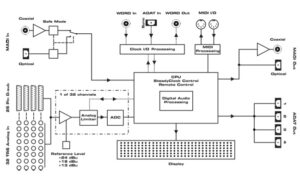
  • m32adblockdiagram

M-32 / M-16 AD ダイアグラム

製品情報

  • 製品情報TOP
  • レガシー製品

ダウンロード

  • ダウンロードTOP

サポート

  • サポートTOP
  • FAQ
  • 製品登録
  • ご購入前相談窓口
  • 修理 / 有償アップデート
  • テクニカルサポート
  • サポート規約
  • 法人窓口
  • 非該当証明書発行
  • RME User Forum

ナレッジベース

  • ナレッジベースTOP
  • 技術情報
  • 設定ガイド

ユーザーストーリー

  • ユーザーストーリーTOP
  • アーティスト
  • イベント
  • スタジオ/企業/施設
  • 国外の導入事例
  • フォロー
    • Facebook
    • X
    • YouTube
    • Instagram
  • 利用規約
  • 情報セキュリティ
  • プライバシーポリシー
Copyright © 2026 株式会社ジェネレックジャパン All rights reserved.
本WEBサイトに掲載されている会社名および製品名は各社の商標または登録商標です。