M-32 / M-16 AD
32/16ch ハイエンド アナログ > MADI / ADATコンバーター
取扱終了

後継機種
M-32 AD Pro II – アナログ32ch MADI・AVB ADコンバーター、デジタル・パッチベイ・ルーター
製品概要
M-32 ADは、32チャンネルのハイエンドADコンバーター。広範囲に渡る機能群を装備し且つシンプルなオペレーションを実現しています。優秀なアナログ回路設計に加え、RMEのジッター抑制機能「SteadyClock」を搭載することで最新鋭のADコンバージョンを可能にしています。
本製品の開発にあたって、RMEの持つすべての経験と、多くのプロフェッショナルユーザーからの要望が取り入れられました。その結果、従来のRME製品同様に、極めてコストパフォーマンスの高いユニークで卓越したハイエンドデバイスを実現しています。
アナログリミッター、最大+24dB/3段階の切り替えが可能なハードウェアレファレンスレベル設定、MADI/ADATにおいて最大192kHzに対応、6.3mm TRSとD-sub入力、MIDI/MADIリモートコントロールなど様々な機能が2Uサイズのラックに収められています。搭載されるリミッターは、業務用スタジオ、放送での使用向けにデザインされており、最大17 dBのオーバーロード入力を歪みなくコンバートすることが可能です(最大入力レベルは+30dB)。
M-32はリファレンスクオリティーでマルチチャンネルコンバージョンを行い且つ、類を見ないコストパフォーマンスを実現しています。

M-16 AD

M-32 AD
接続端子
- M-32 AD:アナログ入力 × 32ch(TRS × 32およびD-Sub 25pin × 4)
M-16 AD:アナログ入力 × 16ch(TRS × 16およびD-Sub 25pin × 2
*TASCAMピン配列 - MADIオプティカル*入出力 × 1系統
*マルチ・モード仕様 - MADIコアキシャル入出力 × 1系統
- ADAT出力 × 4系統 (TOSLINK)、ADAT同期入力 × 1系統
- ワードクロック入出力 × 1系統 (BNC)
- MIDI入出力 (5-pin DIN)
主な機能
- 32チャンネル* ADコンバーター、完全シンメトリカル設計、116 dBA
- 19インチ、2Uサイズ
- MADI:最大192kHz(96kHzで32チャンネル*、192kHzで16チャンネル*)
- ADAT:最大192kHz(48kHzで32チャンネル*、96kHzで16チャンネル*、192kHzで8チャンネル*)
- 遅延ゼロのMADI入出力:複数台を使用時にディレイ補正の必要がありません
- アナログリミッター搭載
- 各チャンネルにつき5個のレベルメーターLEDを搭載
- 各チャンネルのLEDはリミッターの状態を表示可能
- SteadyClock技術による高度なジッター抑制、クロックのリジェネレート
- 設定を内蔵メモリに常時保存
- MIDIおよびMADI経由で完全リモートコントロール
* M-16 ADは以下を除きM-32 ADと同様:
- 16チャンネルのADボードを1基搭載
- 16チャンネル仕様のためファンが搭載されません
- より少ない電力消費量:40 ワット
最新のコンバーターテクノロジー
M-32 ADには、ADI-8 QSに搭載されていたバランスアナログ入力が導入され、全てのレベル設定においても高音質、低歪み率、高S/N比を実現しています。3段階のレベル設定が可能です。最新のコンバーター技術によって最大192 kHz対応、すべてのチャンネルにおいてS/N比116 dBAのハイスペックなユニットが完成しています。
ジッター抑制機能「SteadyClock」
デジタル信号にはサンプリング・クロックの時間的なゆらぎによるジッターが生じます。現在その抑制こそがデジタルオーディオ機器の大命題とされています。
SteadyClock™はすべてのクロックに対して驚異的なジッター抑制を行います。SteadyClock™はいかなるクロックもリフレッシュして抜群の再生クオリティーを保つだけでなく、理想的なリファレンス・クロックとしてすべてのデジタル出力から送信できます。
アナログリミッター

RMEはリファレンスコンバーターであるADI-8 QS用にリリースタイムをデジタルコントロールするフル・シンメトリック回路を新しく開発し、M-32 ADにはこれと同じ回路を搭載しました。アナログリミッターは常に信号パスの中に存在しますが、コントロール信号が発生しない限り完全に透過的な状態を維持し、ノイズや歪みを引き起こすことはありません。この特徴により、オフモード時にもスレッショルドを+3dBに定義することが可能になり、ADコンバーターにおける3dB以上のオーバーロードを防ぐことができます。極端なオーバーロードを避けるだけでなく、ADコンバーターの破損も防ぎます。
フル・シンメトリック設計とリリースタイムのデジタルコントロールにより、ピークリミッターの「避け難い“歪み”」 (コントロールエレメントの直線性エラーやCV発生など)を減じることができます。いかなるレベル/周波数においても、歪み値は約0.3%にとどまります。
さらに特筆すべき特徴として、極端に高いレベルを取り扱うことが可能です。レベルリファレンスを+24dBu、+19dBu、+13dBuに設定した場合は、最大+30dBuまで供給でき、信号は適切にリミットされ(-3 dBFS)、スレッショルドも0.3%となります。+4.2dBuに設定した場合でのクリップ歪みを生じない最大入力レベルは+24 dBuです。20dB以上のオーバーロードが可能ということになります。
リモートコントロール制御
Mシリーズは全ての設定をMIDI経由でリモートコントロールすることが可能で、同時にデバイスのステータスを PCから確認することもできます。各ユニットにはそれぞれIDを割り当てられますので、1つのMIDIチャンネルで複数ユニットを個別にリモートコントロール することができます。また、MADI経由でも同様に完全リモートコントロールすることが可能になります。
MADI入出力

1 本のケーブルで最大64chまでの伝送が可能なMADI信号の入出力に対応。また、MADI入力信号は、付加的なクロックソース(OPTN、クロックセクション)やスルー・インプットとしても使用するこができます。複数台を接続した場合、結合された全64チャンネルは最後のユニットのMADI端子から出力されます。
Mシリーズはオプティカルとコアキシャル端子から有効な入力信号を自動的に探知して入力端子を切り替えるリダンダンシー機能を搭載。双方に常時同じ信号を入力することで、片方の入力信号が欠落した際に即座にそれを探知して他方の入力に自動的に切り替えます。
ADAT
M-32 (16) ADは、ワードクロックやMADI信号が利用できない場合に備えて、クロック同期のためのADATオプティカル入力を搭載しています。含まれるオーディオデータは処理されません。
また本機には4 (2) のADATオプティカル出力が搭載されています。48 kHzまでのサンプルレートで使用する場合、出力は32(16)チャンネルあります(ポートごとに8チャンネル)。それより高いサンプルレートはS/MUXで伝送されます。従ってチャンネル数はダブルスピードでは16(8)チャンネル、クワッドスピードでは8(4)チャンネルに減少します。
ADAT出力は、192 kHzまで利用できます(MADI出力と並列)。上記と同様にチャンネル数が制限されます。
接続には標準的なTOSLINKケーブルを使用できます。
遅延のないスタッキング
M-16 ADとM-32 ADは自由に組み合わせられます。従って、16、32、48、64(またはその倍数)チャンネルのADコンバーターとしてカスタマイズ設計することができます。コンバーターは自動的にディレイ補正機能をアクティブにするので、すべてのユニット間でプレイバックがサンプル単位で同期します。
SyncCheck®
複数のデジタルソースで作業を行う場合には、それらのソースが正しくロックし、また完全に同期している必要があり、これらが正しく設定されていない場合、ドロップアウトやクラックルノイズが発生します。
RME独自のSyncCheckはすべての入力信号をチェックし、視覚的に表示します。クロックモードがMasterのときは、内部クロックに対する同期動作が確認されます。この優れた技術によって瞬時にエラーを発見することができます。
保証

RME製品の保証期間を通常の1年保証から3年保証へ変更させて頂き、末長くご使用頂けるようご提供させて頂きます。
*3年保証を受けるためには製品登録が必要です。
同梱物
- 電源ケーブル
- 接地アダプター
- オプティカル・ケーブル(TOSLINK)
- 日本語ユーザーガイド
技術仕様
アナログ
- ライン入力 1-8、TRS/D-Sub
- 入力: 6.3 mm TRSジャックとD-sub 25ピン、サーボバランス型
- 入力インピーダンス: 10 kOhm
- 入力レベル切り替え +24 dBu、+19 dBu、+13 dBu @ 0 dBFS
アナログリミッター
- 最大アナログ入力レベル(クリップなし): +30 dBu
- スレショルド オン: -3 dBFS
- スレショルド オフ: +3 dB
- THD+N: 0.03%、-52 dB
- アタックタイム: 5 ms
- リリースタイム: 2ステップ、デジタル制御
AD変換
- 解像度: 24 bit
- S/N比(SNR) @ +24 dBu、44.1 kHz: 113.5 dB RMS unweighted、117 dBA
- S/N比(SNR) @ +19 dBu: 113.0 dB RMS unweighted、117 dBA
- S/N比(SNR) @ +13 dBu: 113.0 dB RMS unweighted、117 dBA
- 周波数特性 @ 44.1 kHz、-0.5 dB: 5 Hz ~ 21.5 kHz
- 周波数特性 @ 96 kHz、-0.5 dB: 5 Hz ~ 45.5 kHz
- 周波数特性 @ 192 kHz、-1 dB: 5 Hz ~ 66.5 kHz
- THD: < -110 dB、< 0.00032 %
- THD+N: < -104 dB、< 0.00063 %
- チャンネルセパレーション: > 110 dB
デジタル入力
ADATオプティカル
- 1 x TOSLINK、Alesis規格に基づく
- Bitclock PLLにより、バリピッチにおいても完全な同期
- 同期帯域: 31.5 kHz ~ 50 kHz
- 入力信号同期時のジッター: < 1 ns
- ジッター制御: > 30 dB (2.4 kHz)
ワードクロック
- BNC、非ターミネーション (10 kΩ)
- 内部ターミネーション用スイッチ 75 Ω
- 自動ダブル/クワッドスピード検知とシングルスピードへの変換
- SteadyClockTMにより低ジッター同期を保証、バリスピード動作時を含む
- ネットワーク上のDCオフセットに影響されない
- Signal Adaptation Circuit:自動信号センタリングとヒステリシスによる信号の再生成
- 過剰電圧保護
- レベル範囲: 1.0 Vpp – 5.6 Vpp
- ロック範囲: 27 kHz – 200 kHz
- 入力信号同期時のジッター: < 1 ns
- ジッター抑制: > 30 dB (2.4 kHz)
MADI
- BNCコアキシャル、75 Ω, AES10-1991に基づく
- 高感度入力部 (< 0.2 Vpp)
- オプティカル: FDDI duplex SCコネクタ
- 62.5/125 と 50/125 に対応
- 56チャンネルと64チャンネルモード、96kフレームに対応
- シングルワイヤ: 最大64チャンネル24ビット48 kHz
- ダブルワイヤ/ 96kフレーム:最大32チャンネル24ビット96 kHz
- クワッドワイヤ: 最大16チャンネル24ビット192 kHz
- ロック範囲: 28 kHz ‐ 54 kHz
- 入力信号に同期の際のジッター: < 1 ns
- ジッター抑制: > 30 dB (2.4 kHz)
アナログ
- ライン入力 1-8、TRS/D-Sub
- 入力: 6.3 mm TRSジャックとD-sub 25ピン、サーボバランス型
- 入力インピーダンス: 10 kOhm
- 入力レベル切り替え +24 dBu、+19 dBu、+13 dBu @ 0 dBFS
アナログリミッター
- 最大アナログ入力レベル(クリップなし): +30 dBu
- スレショルド オン: -3 dBFS
- スレショルド オフ: +3 dB
- THD+N: 0.03%、-52 dB
- アタックタイム: 5 ms
- リリースタイム: 2ステップ、デジタル制御
AD変換
- 解像度: 24 bit
- S/N比(SNR) @ +24 dBu、44.1 kHz: 113.5 dB RMS unweighted、117 dBA
- S/N比(SNR) @ +19 dBu: 113.0 dB RMS unweighted、117 dBA
- S/N比(SNR) @ +13 dBu: 113.0 dB RMS unweighted、117 dBA
- 周波数特性 @ 44.1 kHz、-0.5 dB: 5 Hz ~ 21.5 kHz
- 周波数特性 @ 96 kHz、-0.5 dB: 5 Hz ~ 45.5 kHz
- 周波数特性 @ 192 kHz、-1 dB: 5 Hz ~ 66.5 kHz
- THD: < -110 dB、< 0.00032 %
- THD+N: < -104 dB、< 0.00063 %
- チャンネルセパレーション: > 110 dB
デジタル入力
ADATオプティカル
- 1 x TOSLINK、Alesis規格に基づく
- Bitclock PLLにより、バリピッチにおいても完全な同期
- 同期帯域: 31.5 kHz ~ 50 kHz
- 入力信号同期時のジッター: < 1 ns
- ジッター制御: > 30 dB (2.4 kHz)
ワードクロック
- BNC、非ターミネーション (10 kΩ)
- 内部ターミネーション用スイッチ 75 Ω
- 自動ダブル/クワッドスピード検知とシングルスピードへの変換
- SteadyClockTMにより低ジッター同期を保証、バリスピード動作時を含む
- ネットワーク上のDCオフセットに影響されない
- Signal Adaptation Circuit:自動信号センタリングとヒステリシスによる信号の再生成
- 過剰電圧保護
- レベル範囲: 1.0 Vpp – 5.6 Vpp
- ロック範囲: 27 kHz – 200 kHz
- 入力信号同期時のジッター: < 1 ns
- ジッター抑制: > 30 dB (2.4 kHz)
MADI
- BNCコアキシャル、75 Ω, AES10-1991に基づく
- 高感度入力部 (< 0.2 Vpp)
- オプティカル: FDDI duplex SCコネクタ
- 62.5/125 と 50/125 に対応
- 56チャンネルと64チャンネルモード、96kフレームに対応
- シングルワイヤ: 最大64チャンネル24ビット48 kHz
- ダブルワイヤ/ 96kフレーム:最大32チャンネル24ビット96 kHz
- クワッドワイヤ: 最大16チャンネル24ビット192 kHz
- ロック範囲: 28 kHz ‐ 54 kHz
- 入力信号に同期の際のジッター: < 1 ns
- ジッター抑制: > 30 dB (2.4 kHz)
※仕様は予告なく変更になる場合がございます。
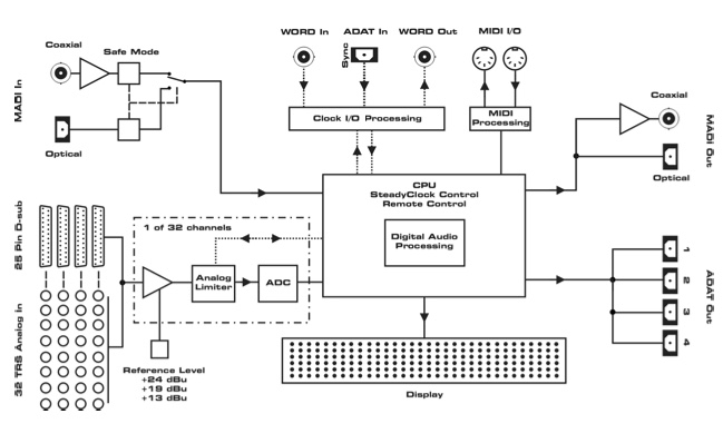
ブロックダイアグラム

アクセサリ
AAI25-8XPro:ALVA D-Sub25(オス) - XLR(メス)x 8 ブレイクアウト・ケーブル
AO25-8XPro:ALVA D-Sub25(オス) - XLR(オス)x 8 ブレイクアウト・ケーブル
NT-RME-13-JP:ロック機構付きスイッチングACアダプター + 電源ケーブル
ALVA MADIケーブル
MADIケーブル・ドラム
